Global Broker Regulation Inquiry App
About WikiFX
Broker Search
English

简体中文

繁體中文

English

Pусский

日本語

ภาษาไทย

Tiếng Việt

Bahasa Indonesia

Español

हिन्दी

Filippiiniläinen

Français

Deutsch

Português

Türkçe

한국어

العربية

Download

Unable to withdraw

卓东
6-10 years
Unverified

Exposure

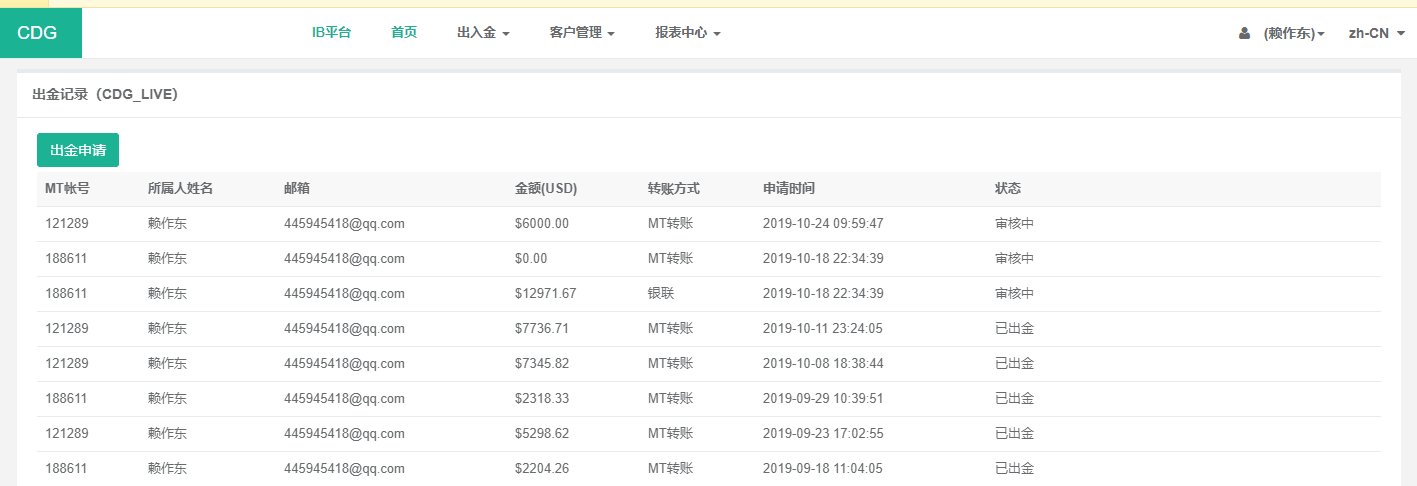
The withdrawal in CDG hasn’t been received for 40 days.The platform blamed it on the regulatory of the third party or the slow processing.Whereas, the withdrawal is still unavailable.

Original

无法出金

希达集团CDG平台出金40天不到账,一时说第三方渠道问题,一时说换了监管出金慢,反正就是资金老是不到账!

2019-11-28

Hong Kong

Unable to Withdraw

Most Comments (Week)

  • AssetsFX

  • Axi

  • STRIFOR

  • Invidiatrade

    4
  • CRUCIAL MARKETS

    5
  • GVD Markets

    6
  • dbinvesting

    7
  • on fin

    8
  • FlipTrade Group

    9
  • M4Markets

    10

To view more

Download the WikiFX App

Select Country/Region
United States
※ WikiFX compiles data from publicly available sources and user contributions. While we endeavor to maintain its accuracy, we do not warrant the information's completeness, accuracy, or timeliness, as it may become outdated. Investors are strongly advised to verify critical details with official sources before making any decisions.
You are visiting the WikiFX website. WikiFX Internet and its mobile products are an enterprise information searching tool for global users. When using WikiFX products, users should consciously abide by the relevant laws and regulations of the country and region where they are located.
consumer hotline:006531290538
Official Email:support@wikifx.com;
Mobile Phone Number:234 706 777 7762;61 449895363
Telegram:+60 103342306
Whatsapp:+852-6613 1970;
License or other information error corrections, please send the information to:qa@wikifx.com
Cooperation:business@wikifx.com