Courtier Mondial Plateforme de Vérification Réglementaire
WikiFX
Recherche de courtier
Français

简体中文

繁體中文

English

Pусский

日本語

ภาษาไทย

Tiếng Việt

Bahasa Indonesia

Español

हिन्दी

Filippiiniläinen

Français

Deutsch

Português

Türkçe

한국어

العربية

Download

AISA ne me permet pas de retirer des bénéfices et de modifier mon record MT4

FX1939226257
6-10 ans
Non vérifié

Divulgation

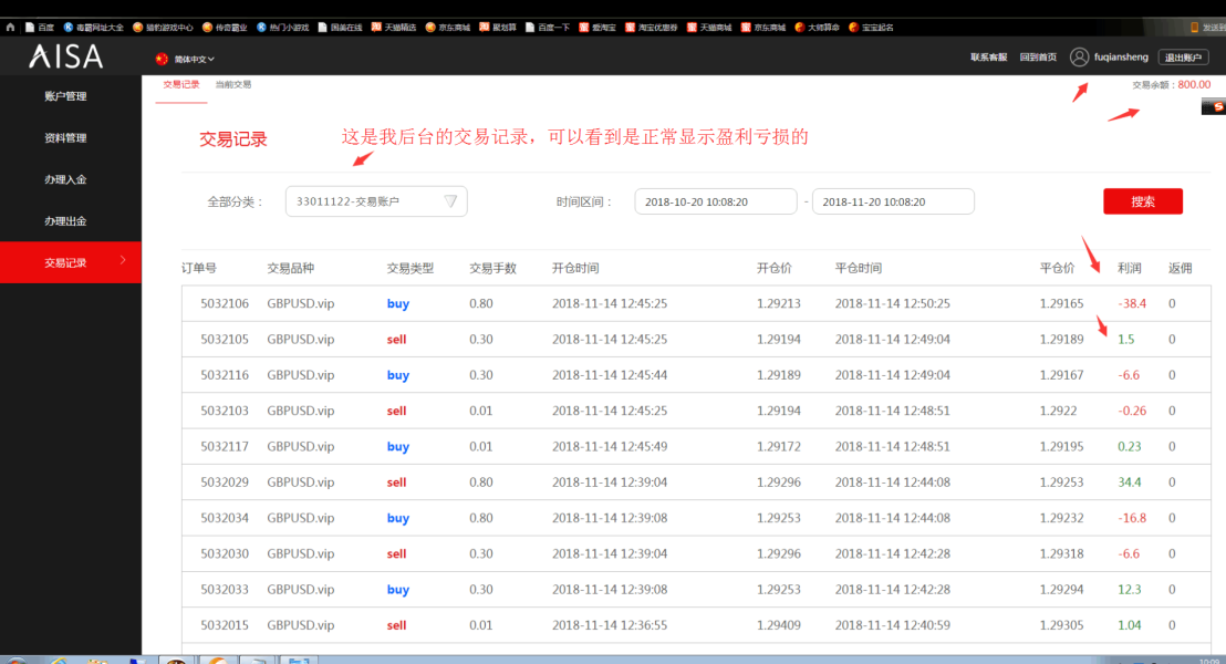
AISA La plate-forme noire a prétendu être une plate-forme de label principal, mais elle a en réalité autorisé les comptes A et B. Lorsque je commençais tout juste à m'inscrire en tant qu'agent d'Aisha, ils ont clairement indiqué que mon argent serait déposé dans un compte A, mais ils ont en fait placé mon argent dans un compte B à titre privé. J'ai déposé 800 dollars. Après avoir gagné plus de 3 400 dollars américains, je n'ai pas été autorisé à retirer de l'argent et tous les bénéfices ont été déduits. Ils ont effacé mes enregistrements de transaction MT4. Maintenant, 800 dollars n'est pas disponible. Ils ont également envoyé un courrier électronique indiquant que mon activité était inhabituelle. Gagner de l'argent est une transaction anormale. En fait, ils déposent mon argent sur le compte B et voulaient manger ma perte. Si je fais un profit et qu'il doit me payer. S'il vous plaît, FXEYES présidera la justice. Même si je ne peux pas récupérer 800 dollars, je dois exposer cette plate-forme d'escroquerie. Ils trichent en fait l'argent des Chinois. Ils ont également dit que l'on gagne le plus de profits, il peut obtenir BMW Mercedes. En fait, ils ne laissent que les clients perdre de l'argent. Je vais demander une grande aide aux médias. Sur la plate-forme d'arnaque.

Articles originaux

爱莎外汇黑平台,盈利不给出金,修改我的MT4记录

爱莎外汇黑平台,口口说主标平台,但是实际给代理商AB仓,我刚刚开始注册的爱莎代理明确说是A仓。但是私自把我放入B仓,我入了800美金的仓,赚了3400多美金后,不给我出金,把我的盈利全部扣除。MT4把我的交易记录全部归修改为0.现在800本金都卡的不出了。还发邮件说我异常交易。赚钱了就是异常交易。实际是代理商开了B仓想吃我的亏损。我盈利了他自己要垫出钱来。请外汇天眼给个公道。哪怕我这800本金不要我也要爆光这个黑平台。就是来坑中国人的钱。还说盈利多的可以得宝马奔驰。实际是只允许客户亏损。我会请求个大媒体帮助。打倒黑平台。

2018-11-20

Hong Kong

Retrait

La plupart des commentaires de la semaine

  • Axi

  • STRIFOR

  • RYOEX

  • Invidiatrade

    4
  • RADEX MARKETS

    5
  • CRUCIAL MARKETS

    6
  • FlipTrade Group

    7
  • MONETA MARKETS

    8
  • Dotbig

    9
  • MH Markets

    10

Pour plus d'infos

Téléchargez l'application WikiFX

Choisir un Pays / Région
United States
※ WikiFX compile des données provenant de sources publiques et des contributions des utilisateurs. Bien que nous nous efforcions de maintenir l'exactitude de ces informations, nous ne garantissons pas leur exhaustivité, leur exactitude ni leur actualité, car elles peuvent devenir obsolètes. Il est fortement recommandé aux investisseurs de vérifier les informations importantes auprès de sources officielles avant de prendre toute décision.
You are visiting the WikiFX website. WikiFX Internet and its mobile products are an enterprise information searching tool for global users. When using WikiFX products, users should consciously abide by the relevant laws and regulations of the country and region where they are located.
consumer hotline:006531290538
Official Email:support@wikifx.com;
Mobile Phone Number:234 706 777 7762;61 449895363
Telegram:+60 103342306
Whatsapp:+852-6613 1970;
License or other information error corrections, please send the information to:qa@wikifx.com
Cooperation:business@wikifx.com