Application de demande de renseignements sur la réglementation des courtiers mondiaux
WikiFX
Recherche de courtier
Français

简体中文

繁體中文

English

Pусский

日本語

ภาษาไทย

Tiếng Việt

Bahasa Indonesia

Español

हिन्दी

Filippiiniläinen

Français

Deutsch

Português

Türkçe

한국어

العربية

Download

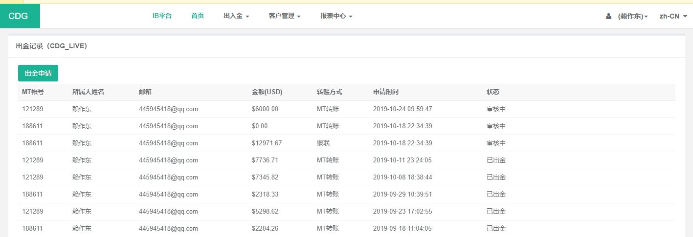
Impossible de se retirer

卓东
6-10 ans
Non vérifié

Divulgation

J'ai demandé le retrait depuis octobre. CDG continue de tenir le temps avec l'excuse d'un canal de financement lent ou le problème de paiement par un tiers.

Articles originaux

无法出金诱导欺诈

我从今年10月份出金CDG希达集团一时说换监管出金慢,一时说第三方支付问题出金慢,总之以各种理由到现在都没有到账!

2019-12-10

Hong Kong

Fraude

La plupart des commentaires de la semaine

  • FlipTrade Group

  • UITFX

  • RADEX MARKETS

  • RYOEX

    4
  • NPBFX

    5
  • amana

    6
  • PFH Markets

    7
  • STP Trading

    8
  • Bitget

    9
  • XS

    10

Pour plus d'infos

Téléchargez l'application WikiFX

Choisir un Pays / Région
United States
※ WikiFX compile des données provenant de sources publiques et des contributions des utilisateurs. Bien que nous nous efforcions de maintenir l'exactitude de ces informations, nous ne garantissons pas leur exhaustivité, leur exactitude ni leur actualité, car elles peuvent devenir obsolètes. Il est fortement recommandé aux investisseurs de vérifier les informations importantes auprès de sources officielles avant de prendre toute décision.
You are visiting the WikiFX website. WikiFX Internet and its mobile products are an enterprise information searching tool for global users. When using WikiFX products, users should consciously abide by the relevant laws and regulations of the country and region where they are located.
consumer hotline:006531290538
Official Email:support@wikifx.com;
Mobile Phone Number:234 706 777 7762;61 449895363
Telegram:+60 103342306
Whatsapp:+852-6613 1970;
License or other information error corrections, please send the information to:qa@wikifx.com
Cooperation:business@wikifx.com