ग्लोबल ब्रोकर नियामक जाँच एप
WikiFX
ब्रोकर खोज
हिन्दी

简体中文

繁體中文

English

Pусский

日本語

ภาษาไทย

Tiếng Việt

Bahasa Indonesia

Español

हिन्दी

Filippiiniläinen

Français

Deutsch

Português

Türkçe

한국어

العربية

Download

तीन महीने से निकासी नहीं हुई है। मुझे न्याय की उम्मीद है!

王辰锋
6-10 साल
असत्यापित

एक्सपोज़र

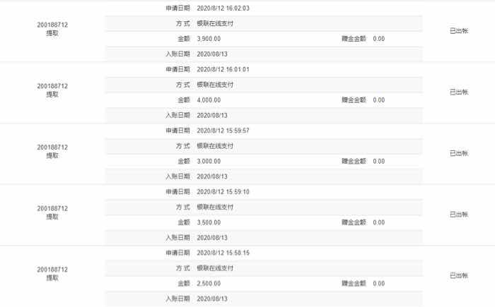
मैंने 31 जुलाई, 2020 को 111 में, $ 22,664.33 पर अलग-अलग सात बार निकासी के लिए आवेदन किया। मैंने ग्राहक सेवा और उनके प्रबंधक से पूछा, उन्होंने कहा कि निकासी आएगी। जब मैंने उनसे पूछा कि कब पहुंचना है, वे मुझे सटीक समय नहीं दे सकते हैं! उन्होंने मुझे विनियामक स्थानांतरण का बहाना दिया, लेकिन नियामक को बदलने वाले अन्य प्लेटफॉर्म निकासी की पहुंच दे सकते हैं। 111 अलग क्यों है? तीन महीने हो गए @ मुझे न्याय चाहिए! एक ऐसा प्लेटफ़ॉर्म जो मुझे मेरी मेहनत की कमाई दिलाने में मदद कर सके!

ओरिजिनल

在联准申请出金3个月不到账,求公道!

我在联准USGFX从2020.7.31到2020.8.12陆续申请7笔出金,总金额22664.33美金,数次找客服及客服经理,都说一定可以到账,但是我问什么时候到账,都是不能给我具体时间! 每次都以换监管为由说出金慢,但是别的平台也有换监管,也都到账了,为什么只有联准不到账!而且已经三个月时间了! 我就想求一个公道!求一个可以伸张正义的平台!我要拿回我的血汗钱!

2020-10-28

हांग कांग

विड्रॉ करने में असमर्थ

सप्ताह की अधिकांश टिप्पणियाँ

  • AssetsFX

  • Invidiatrade

  • CRUCIAL MARKETS

  • XS

    4
  • M4Markets

    5
  • AMarkets

    6
  • BULL WAVES

    7
  • EE TRADE

    8
  • CENTRAFXPRO

    9
  • XELLION

    10

अधिक देखने के लिए

कृपया WikiFX ऐप डाउनलोड करें